在 XLA:GPU 中,有三种方法可以为 HLO 生成代码。

- 使用对外部库(例如 NVidia cuBLAS、cuDNN)的自定义调用替换 HLO。
- 将 HLO 平铺到块级,然后使用 OpenAI Triton。
- 使用 XLA 发射器将 HLO 逐步降低到 LLVM IR。
本文档重点介绍 XLA:GPU 发射器。
基于 Hero 的代码生成
XLA:GPU 中有 7 种发射器类型。每种发射器类型都对应于融合的“主角”,即融合计算中最重要且可决定整个融合的代码生成的运算。

例如,如果融合中存在需要使用共享内存来改进内存读写模式的 HloTransposeInstruction,则会选择转置发射器。缩减发射器使用 shuffle 和共享内存生成缩减。循环发射器是默认发射器。如果某个融合没有我们为其提供特殊发射器的主角,则将使用循环发射器。
简要概览
代码由以下主要构建块组成:
- 计算分区器 - 将 HLO 融合计算拆分为函数
- 发射器 - 将分区 HLO 融合转换为 MLIR(
xla_gpu、tensor、arith、math、scf方言) - 编译流水线 - 优化 IR 并将其降至 LLVM

分区
请参阅 computation_partitioner.h。
非逐元素 HLO 指令并不总是可以一起发出。请考虑以下 HLO 图:
param
|
log
| \
| transpose
| /
add
如果我们在一个函数中发出此信号,则对于 add 的每个元素,将通过两个不同的索引访问 log。旧版发射器通过生成两次 log 来解决此问题。对于此特定图表,这不是问题,但当存在多个拆分时,代码大小会呈指数级增长。
在此示例中,我们通过将图划分为可安全地作为单个函数发出的部分来解决此问题。相关条件如下:
- 仅包含一个用户的指令可以安全地与其用户一起发出。
- 如果多个用户通过相同的索引访问指令,则可以安全地将这些指令与其用户一起发出。
在上面的示例中,add 和 tranpose 访问 log 的不同索引,因此将它们一起发出是不安全的。
因此,该图被划分为三个函数(每个函数仅包含一条指令)。
以下示例(其中 slice 和 pad 为 add)也适用此规则。

元素发射
元素级发射会为 HloInstructions 创建循环和数学/算术运算。在大多数情况下,这很简单,但这里发生了一些有趣的事情。
编入索引的转换
某些指令(transpose、broadcast、reshape、slice、reverse 等)纯粹是对索引的转换:为了生成结果的某个元素,我们需要生成输入的某个其他元素。为此,我们可以重用 XLA 的 indexing_analysis,它具有可生成指令的输出到输入映射的函数。
例如,对于从 [20,40] 到 [40,20] 的 transpose,它将生成以下索引映射(每个输入维度一个仿射表达式;d0 和 d1 是输出维度):
(d0, d1) -> d1
(d0, d1) -> d0
因此,对于这些纯索引转换指令,我们可以简单地获取映射,将其应用于输出索引,并在生成的索引处生成输入。
同样,pad 操作符在大多数实现中都使用索引映射和约束。pad 也是一种索引转换,但添加了一些检查,用于确定是返回输入元素还是填充值。
元组
我们不支持内部 tuple。我们也不支持嵌套的元组输出。使用这些功能的所有 XLA 图都可以转换为不使用这些功能的图。
收集
我们仅支持由 gather_simplifier 生成的规范收集。
子图函数
对于形参为 %p0 到 %p_n 的计算子图,以及维度为 r 且元素类型为(e0 到 e_m)的子图根,我们使用以下 MLIR 函数签名:
(%p0: tensor<...>, %p1: tensor<...>, ..., %pn: tensor<...>,
%i0: index, %i1: index, ..., %i_r-1: index) -> (e0, ..., e_m)
也就是说,每个计算参数都有一个张量输入,输出的每个维度都有一个索引输入,每个输出都有一个结果。
若要发出函数,我们只需使用上述元素发射器,并以递归方式发出其操作数,直到到达子图的边缘。然后,我们:针对参数发出 tensor.extract,或针对其他子图发出 func.call
入口函数
每种发射器类型在生成入口函数(即英雄的函数)的方式上有所不同。入口函数与上述函数不同,因为它没有索引作为输入(只有线程和块 ID),并且实际上需要将输出写入某个位置。对于循环发射器,这相当简单,但转置和缩减发射器具有复杂的写入逻辑。
条目计算的签名是:
(%p0: tensor<...>, ..., %pn: tensor<...>,
%r0: tensor<...>, ..., %rn: tensor<...>) -> (tensor<...>, ..., tensor<...>)
与之前一样,%pn是计算的形参,%rn是计算的结果。条目计算将结果作为张量,将 tensor.insert 更新到其中,然后返回它们。不允许以其他方式使用输出张量。
编译流水线
环形发射器
请参阅 loop.h。
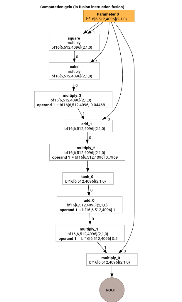
我们来研究一下使用 GELU 函数的 HLO 的 MLIR 编译流水线中最重要的一些 pass。

此 HLO 计算仅包含按元素运算、常量和广播。它将使用循环发射器进行发射。
MLIR 转换
转换为 MLIR 后,我们得到一个依赖于 %thread_id_x 和 %block_id_x 的 xla_gpu.loop,它定义了线性遍历输出的所有元素的循环,以保证合并写入。
在此循环的每次迭代中,我们都会调用
%pure_call = xla_gpu.pure_call @gelu(%input, %dim0, %dim1, %dim2)
: (tensor<6x512x4096xbf16>, index, index, index) -> bf16
以计算根操作的元素。请注意,我们只为 @gelu 提供了一个轮廓函数,因为分区器未检测到具有 2 种或更多不同访问模式的张量。
#map = #xla_gpu.indexing_map<"(th_x, bl_x)[vector_index] -> ("
"bl_x floordiv 4096, (bl_x floordiv 8) mod 512, (bl_x mod 8) * 512 + th_x * 4 + vector_index),"
"domain: th_x in [0, 127], bl_x in [0, 24575], vector_index in [0, 3]">
func.func @main(%input: tensor<6x512x4096xbf16> , %output: tensor<6x512x4096xbf16>)
-> tensor<6x512x4096xbf16> {
%thread_id_x = gpu.thread_id x {xla.range = [0 : index, 127 : index]}
%block_id_x = gpu.block_id x {xla.range = [0 : index, 24575 : index]}
%xla_loop = xla_gpu.loop (%thread_id_x, %block_id_x)[%vector_index] -> (%dim0, %dim1, %dim2)
in #map iter_args(%iter = %output) -> (tensor<6x512x4096xbf16>) {
%pure_call = xla_gpu.pure_call @gelu(%input, %dim0, %dim1, %dim2)
: (tensor<6x512x4096xbf16>, index, index, index) -> bf16
%inserted = tensor.insert %pure_call into %iter[%dim0, %dim1, %dim2] : tensor<6x512x4096xbf16>
xla_gpu.yield %inserted : tensor<6x512x4096xbf16>
}
return %xla_loop : tensor<6x512x4096xbf16>
}
func.func private @gelu(%arg0: tensor<6x512x4096xbf16>, %i: index, %j: index, %k: index) -> bf16 {
%cst = arith.constant 5.000000e-01 : bf16
%cst_0 = arith.constant 1.000000e+00 : bf16
%cst_1 = arith.constant 7.968750e-01 : bf16
%cst_2 = arith.constant 4.467770e-02 : bf16
%extracted = tensor.extract %arg0[%i, %j, %k] : tensor<6x512x4096xbf16>
%0 = arith.mulf %extracted, %extracted : bf16
%1 = arith.mulf %0, %extracted : bf16
%2 = arith.mulf %1, %cst_2 : bf16
%3 = arith.addf %extracted, %2 : bf16
%4 = arith.mulf %3, %cst_1 : bf16
%5 = math.tanh %4 : bf16
%6 = arith.addf %5, %cst_0 : bf16
%7 = arith.mulf %6, %cst : bf16
%8 = arith.mulf %extracted, %7 : bf16
return %8 : bf16
}
Inliner
在 @gelu 内嵌后,我们得到一个 @main 函数。可能会出现同一函数被调用两次或更多次的情况。在这种情况下,我们不会进行内联。有关内嵌规则的更多详细信息,请参阅 xla_gpu_dialect.cc。
func.func @main(%arg0: tensor<6x512x4096xbf16>, %arg1: tensor<6x512x4096xbf16>) -> tensor<6x512x4096xbf16> {
...
%thread_id_x = gpu.thread_id x {xla.range = [0 : index, 127 : index]}
%block_id_x = gpu.block_id x {xla.range = [0 : index, 24575 : index]}
%xla_loop = xla_gpu.loop (%thread_id_x, %block_id_x)[%vector_index] -> (%dim0, %dim1, %dim2)
in #map iter_args(%iter = %output) -> (tensor<6x512x4096xbf16>) {
%extracted = tensor.extract %input[%dim0, %dim1, %dim2] : tensor<6x512x4096xbf16>
%0 = arith.mulf %extracted, %extracted : bf16
%1 = arith.mulf %0, %extracted : bf16
%2 = arith.mulf %1, %cst : bf16
%3 = arith.addf %extracted, %2 : bf16
%4 = arith.mulf %3, %cst_0 : bf16
%5 = math.tanh %4 : bf16
%6 = arith.addf %5, %cst_1 : bf16
%7 = arith.mulf %6, %cst_2 : bf16
%8 = arith.mulf %extracted, %7 : bf16
%inserted = tensor.insert %8 into %iter[%dim0, %dim1, %dim2] : tensor<6x512x4096xbf16>
xla_gpu.yield %inserted : tensor<6x512x4096xbf16>
}
return %xla_loop : tensor<6x512x4096xbf16>
}
xla_gpu 至 scf 转化
xla_gpu.loop 表示内部有边界检查的嵌套循环。如果循环归纳变量超出索引映射网域的范围,则跳过此迭代。这意味着,循环会转换为 1 个或多个嵌套的 scf.for 操作,其中包含 scf.if。
%xla_loop = scf.for %vector_index = %c0 to %c4 step %c1 iter_args(%iter = %output) -> (tensor<6x512x4096xbf16>) {
%2 = arith.cmpi sge, %thread_id_x, %c0 : index
%3 = arith.cmpi sle, %thread_id_x, %c127 : index
%4 = arith.andi %2, %3 : i1
%5 = arith.cmpi sge, %block_id_x, %c0 : index
%6 = arith.cmpi sle, %block_id_x, %c24575 : index
%7 = arith.andi %5, %6 : i1
%inbounds = arith.andi %4, %7 : i1
%9 = scf.if %inbounds -> (tensor<6x512x4096xbf16>) {
%dim0 = xla_gpu.apply_indexing #map(%thread_id_x, %block_id_x)[%vector_index]
%dim1 = xla_gpu.apply_indexing #map1(%thread_id_x, %block_id_x)[%vector_index]
%dim2 = xla_gpu.apply_indexing #map2(%thread_id_x, %block_id_x)[%vector_index]
%extracted = tensor.extract %input[%dim0, %dim1, %dim2] : tensor<6x512x4096xbf16>
// ... more arithmetic operations
%29 = arith.mulf %extracted, %28 : bf16
%inserted = tensor.insert %29 into %iter[%dim0, %dim1, %dim2] : tensor<6x512x4096xbf16>
scf.yield %inserted : tensor<6x512x4096xbf16>
} else {
scf.yield %iter : tensor<6x512x4096xbf16>
}
scf.yield %9 : tensor<6x512x4096xbf16>
}
扁平化张量
请参阅 flatten_tensors.cc。
N 维张量投影到 1 维。这样可以简化矢量化和降级到 LLVM 的过程,因为每个张量访问现在都对应于数据在内存中的对齐方式。
#map = #xla_gpu.indexing_map<"(th_x, bl_x, vector_index) -> (th_x * 4 + bl_x * 512 + vector_index),"
"domain: th_x in [0, 127], bl_x in [0, 24575], vector_index in [0, 3]">
func.func @main(%input: tensor<12582912xbf16>, %output: tensor<12582912xbf16>) -> tensor<12582912xbf16> {
%xla_loop = scf.for %vector_index = %c0 to %c4 step %c1 iter_args(%iter = %output) -> (tensor<12582912xbf16>) {
%dim = xla_gpu.apply_indexing #map(%thread_id_x, %block_id_x, %vector_index)
%extracted = tensor.extract %input[%dim] : tensor<12582912xbf16>
%2 = arith.mulf %extracted, %extracted : bf16
%3 = arith.mulf %2, %extracted : bf16
%4 = arith.mulf %3, %cst_2 : bf16
%5 = arith.addf %extracted, %4 : bf16
%6 = arith.mulf %5, %cst_1 : bf16
%7 = math.tanh %6 : bf16
%8 = arith.addf %7, %cst_0 : bf16
%9 = arith.mulf %8, %cst : bf16
%10 = arith.mulf %extracted, %9 : bf16
%inserted = tensor.insert %10 into %iter[%dim] : tensor<12582912xbf16>
scf.yield %inserted : tensor<12582912xbf16>
}
return %xla_loop : tensor<12582912xbf16>
}
矢量化
请参阅 vectorize_loads_stores.cc。
该传递会分析 tensor.extract 和 tensor.insert op 中的索引,如果这些索引是由 xla_gpu.apply_indexing 生成的,且 xla_gpu.apply_indexing 相对于 %vector_index 连续访问元素,并且访问是对齐的,则 tensor.extract 会转换为 vector.transfer_read 并提升到循环之外。
在此特定示例中,有一个索引映射 (th_x, bl_x, vector_index) -> (th_x * 4 + bl_x * 512 + vector_index) 用于计算要提取和插入的元素,该元素位于从 0 到 4 的 scf.for 循环中。因此,tensor.extract 和 tensor.insert 都可以矢量化。
func.func @main(%input: tensor<12582912xbf16>, %output: tensor<12582912xbf16>) -> tensor<12582912xbf16> {
%vector_0 = arith.constant dense<0.000000e+00> : vector<4xbf16>
%0 = xla_gpu.apply_indexing #map(%thread_id_x, %block_id_x, %c0)
%2 = vector.transfer_read %input[%0], %cst {in_bounds = [true]} : tensor<12582912xbf16>, vector<4xbf16>
%xla_loop:2 = scf.for %vector_index = %c0 to %c4 step %c1
iter_args(%iter = %output, %iter_vector = %vector_0) -> (tensor<12582912xbf16>, vector<4xbf16>) {
%5 = vector.extract %2[%vector_index] : bf16 from vector<4xbf16>
%6 = arith.mulf %5, %5 : bf16
%7 = arith.mulf %6, %5 : bf16
%8 = arith.mulf %7, %cst_4 : bf16
%9 = arith.addf %5, %8 : bf16
%10 = arith.mulf %9, %cst_3 : bf16
%11 = math.tanh %10 : bf16
%12 = arith.addf %11, %cst_2 : bf16
%13 = arith.mulf %12, %cst_1 : bf16
%14 = arith.mulf %5, %13 : bf16
%15 = vector.insert %14, %iter_vector [%vector_index] : bf16 into vector<4xbf16>
scf.yield %iter, %15 : tensor<12582912xbf16>, vector<4xbf16>
}
%4 = vector.transfer_write %xla_loop#1, %output[%0] {in_bounds = [true]}
: vector<4xbf16>, tensor<12582912xbf16>
return %4 : tensor<12582912xbf16>
}
循环展开
请参阅 optimize_loops.cc。
循环展开会查找可以展开的 scf.for 循环。在这种情况下,对向量元素的循环会消失。
func.func @main(%input: tensor<12582912xbf16>, %arg1: tensor<12582912xbf16>) -> tensor<12582912xbf16> {
%cst_0 = arith.constant dense<0.000000e+00> : vector<4xbf16>
%dim = xla_gpu.apply_indexing #map(%thread_id_x, %block_id_x, %c0)
%2 = vector.transfer_read %input[%dim], %cst {in_bounds = [true]} : tensor<12582912xbf16>, vector<4xbf16>
%3 = vector.extract %2[%c0] : bf16 from vector<4xbf16>
...
%13 = vector.insert %12, %cst_0 [%c0] : bf16 into vector<4xbf16>
%14 = vector.extract %2[%c1] : bf16 from vector<4xbf16>
...
%24 = vector.insert %23, %13 [%c1] : bf16 into vector<4xbf16>
%25 = vector.extract %2[%c2] : bf16 from vector<4xbf16>
...
%35 = vector.insert %34, %24 [%c2] : bf16 into vector<4xbf16>
%36 = vector.extract %2[%c3] : bf16 from vector<4xbf16>
...
%46 = vector.insert %45, %35 [%c3] : bf16 into vector<4xbf16>
%47 = vector.transfer_write %46, %arg1[%dim] {in_bounds = [true]} : vector<4xbf16>, tensor<12582912xbf16>
return %47 : tensor<12582912xbf16>
}
转换为 LLVM
我们主要使用标准的 LLVM 降级,但也有一些特殊的传递。
我们无法使用张量的 memref 降级,因为我们不会缓冲 IR,并且我们的 ABI 与 memref ABI 不兼容。相反,我们直接从张量到 LLVM 进行自定义降维。
- 张量的降级在 lower_tensors.cc 中完成。
tensor.extract降低到llvm.load,tensor.insert降低到llvm.store,方式显而易见。 - propagate_slice_indices 和 merge_pointers_to_same_slice 共同实现了缓冲区分配和 XLA 的 ABI 的一个细节:如果两个张量共享同一个缓冲区切片,则它们只会被传递一次。这些传递会去除重复的函数实参。
llvm.func @__nv_tanhf(f32) -> f32
llvm.func @main(%arg0: !llvm.ptr, %arg1: !llvm.ptr) {
%11 = nvvm.read.ptx.sreg.tid.x : i32
%12 = nvvm.read.ptx.sreg.ctaid.x : i32
%13 = llvm.mul %11, %1 : i32
%14 = llvm.mul %12, %0 : i32
%15 = llvm.add %13, %14 : i32
%16 = llvm.getelementptr inbounds %arg0[%15] : (!llvm.ptr, i32) -> !llvm.ptr, bf16
%17 = llvm.load %16 invariant : !llvm.ptr -> vector<4xbf16>
%18 = llvm.extractelement %17[%2 : i32] : vector<4xbf16>
%19 = llvm.fmul %18, %18 : bf16
%20 = llvm.fmul %19, %18 : bf16
%21 = llvm.fmul %20, %4 : bf16
%22 = llvm.fadd %18, %21 : bf16
%23 = llvm.fmul %22, %5 : bf16
%24 = llvm.fpext %23 : bf16 to f32
%25 = llvm.call @__nv_tanhf(%24) : (f32) -> f32
%26 = llvm.fptrunc %25 : f32 to bf16
%27 = llvm.fadd %26, %6 : bf16
%28 = llvm.fmul %27, %7 : bf16
%29 = llvm.fmul %18, %28 : bf16
%30 = llvm.insertelement %29, %8[%2 : i32] : vector<4xbf16>
...
}
转置发射器
我们来看一个稍微复杂一点的示例。

转置发射器与循环发射器的不同之处仅在于入口函数的生成方式。
func.func @transpose(%arg0: tensor<20x160x170xf32>, %arg1: tensor<170x160x20xf32>) -> tensor<170x160x20xf32> {
%thread_id_x = gpu.thread_id x {xla.range = [0 : index, 127 : index]}
%block_id_x = gpu.block_id x {xla.range = [0 : index, 959 : index]}
%shmem = xla_gpu.allocate_shared : tensor<32x1x33xf32>
%xla_loop = xla_gpu.loop (%thread_id_x, %block_id_x)[%i, %j]
-> (%input_dim0, %input_dim1, %input_dim2, %shmem_dim0, %shmem_dim1, %shmem_dim2)
in #map iter_args(%iter = %shmem) -> (tensor<32x1x33xf32>) {
%extracted = tensor.extract %arg0[%input_dim0, %input_dim1, %input_dim2] : tensor<20x160x170xf32>
%0 = math.exp %extracted : f32
%inserted = tensor.insert %0 into %iter[%shmem_dim0, %shmem_dim1, %shmem_dim2] : tensor<32x1x33xf32>
xla_gpu.yield %inserted : tensor<32x1x33xf32>
}
%synced_tensor = xla_gpu.sync_threads %xla_loop : tensor<32x1x33xf32>
%xla_loop_0 = xla_gpu.loop (%thread_id_x %block_id_x)[%i, %j] -> (%dim0, %dim1, %dim2)
in #map1 iter_args(%iter = %arg1) -> (tensor<170x160x20xf32>) {
// indexing computations
%extracted = tensor.extract %synced_tensor[%0, %c0, %1] : tensor<32x1x33xf32>
%2 = math.absf %extracted : f32
%inserted = tensor.insert %2 into %iter[%3, %4, %1] : tensor<170x160x20xf32>
xla_gpu.yield %inserted : tensor<170x160x20xf32>
}
return %xla_loop_0 : tensor<170x160x20xf32>
}
在这种情况下,我们会生成两个 xla_gpu.loop 操作。第一个执行从输入中合并读取,并将结果写入共享内存。
共享内存张量是使用 xla_gpu.allocate_shared 操作创建的。
使用 xla_gpu.sync_threads 同步线程后,第二个 xla_gpu.loop 会从共享内存张量中读取元素,并对输出执行合并写入。
重现者
为了在编译流水线的每次传递后查看 IR,可以使用 --xla_dump_hlo_pass_re=fusion-emitter 标志启动 run_hlo_module。
run_hlo_module --platform=CUDA --xla_disable_all_hlo_passes --reference_platform="" /tmp/gelu.hlo --xla_dump_hlo_pass_re=fusion-emitter --xla_dump_to=<some_directory>
其中 /tmp/gelu.hlo 包含
HloModule m:
gelu {
%param = bf16[6,512,4096] parameter(0)
%constant_0 = bf16[] constant(0.5)
%bcast_0 = bf16[6,512,4096] broadcast(bf16[] %constant_0), dimensions={}
%constant_1 = bf16[] constant(1)
%bcast_1 = bf16[6,512,4096] broadcast(bf16[] %constant_1), dimensions={}
%constant_2 = bf16[] constant(0.79785)
%bcast_2 = bf16[6,512,4096] broadcast(bf16[] %constant_2), dimensions={}
%constant_3 = bf16[] constant(0.044708)
%bcast_3 = bf16[6,512,4096] broadcast(bf16[] %constant_3), dimensions={}
%square = bf16[6,512,4096] multiply(bf16[6,512,4096] %param, bf16[6,512,4096] %param)
%cube = bf16[6,512,4096] multiply(bf16[6,512,4096] %square, bf16[6,512,4096] %param)
%multiply_3 = bf16[6,512,4096] multiply(bf16[6,512,4096] %cube, bf16[6,512,4096] %bcast_3)
%add_1 = bf16[6,512,4096] add(bf16[6,512,4096] %param, bf16[6,512,4096] %multiply_3)
%multiply_2 = bf16[6,512,4096] multiply(bf16[6,512,4096] %add_1, bf16[6,512,4096] %bcast_2)
%tanh_0 = bf16[6,512,4096] tanh(bf16[6,512,4096] %multiply_2)
%add_0 = bf16[6,512,4096] add(bf16[6,512,4096] %tanh_0, bf16[6,512,4096] %bcast_1)
%multiply_1 = bf16[6,512,4096] multiply(bf16[6,512,4096] %add_0, bf16[6,512,4096] %bcast_0)
ROOT %multiply_0 = bf16[6,512,4096] multiply(bf16[6,512,4096] %param, bf16[6,512,4096] %multiply_1)
}
ENTRY main {
%param = bf16[6,512,4096] parameter(0)
ROOT fusion = bf16[6,512,4096] fusion(%param), kind=kLoop, calls=gelu
}
代码链接
- 编译流水线:emitter_base.h
- 优化和转换传递:backends/gpu/codegen/emitters/transforms
- 分区逻辑:computation_partitioner.h
- 基于 Hero 的发射器:backends/gpu/codegen/emitters
- XLA:GPU 操作:xla_gpu_ops.td
- 正确性和 lit 测试:backends/gpu/codegen/emitters/tests